Около года назад компания Deepcool Industries Co., Ltd. выпустила кулер для видеокарт с громким названием Dracula:

Модель оказалась весьма удачной, выделялась очень высоким уровнем эффективности, а главное, была совместима с большим числом видеокарт. Но за прошедший с момента появления «Дракулы» период компании AMD и NVIDIA выпустили новые видеокарты, с некоторыми из которых кулер уже несовместим. В частности, более низкое расположение кристалла графического процессора Tahiti потребовало доработки основания кулера, и в Deepcool не заставили себя долго ждать, выпустив вторую версию Dracula. Изучению её особенностей и эффективности и посвящена сегодняшняя статья.
⇡#Технические характеристики и рекомендованная стоимость
| Наименование технических характеристик | Deepcool Dracula |
|---|---|
| Размеры радиатора (ДхШхВ), мм | 254x100x44 |
| Материал и конструкция радиатора | Никелированная конструкция из двух секций алюминиевых пластин на 12 медных тепловых трубках диаметром 6 мм, выходящих из медного основания |
| Количество пластин радиатора, шт. | 84 (53+31) |
| Толщина пластин радиатора, мм | 0,45 |
| Межрёберное расстояние, мм | 2 |
| Расчётная площадь радиатора, см2 | н/д |
| Масса радиатора кулера, г | 556 |
| Количество перекрываемых кулером PCI-(E) слотов (только радиатор/с вентиляторами) | 01,3 |
| Рекомендуемая скорость вентиляторов, об/мин | 600-1500 |
| Дополнительно | Алюминиевые радиаторы для BGA-микросхем видеопамяти и силовых элементов, термопаста Deepcool, термоклей |
| Целевое назначение (возможность установки на видеокарты) | Все видеокарты на графических процессорах NVIDIA и AMD с расстояниями между отверстиями креплений 43х43 мм, 53х53 мм, 51х61 мм, 58х58 мм, 80х80 мм |
| Рекомендованная стоимость, долларов США | 75 |
Кулер запечатан в небольшую картонную коробку чёрного цвета с минимумом информации на всех сторонах:
Видимо, таким образом в Deepcool старались подчеркнуть принадлежность кулера к тёмным силам и причастность ко всем известному вампиру из румынского княжества Валахия.
В комплект поставки, помимо основного радиатора, включены следующие компоненты:
Вентиляторы в комплект поставки Deepcool Dracula не входят.
Более детально весь набор компонентов Dracula можно посмотреть по следующей схеме:
Кулер по-прежнему выпускается в Китае. Ранее его рекомендованная стоимость составляла 55 долларов США, но теперь по непонятным причинам она выросла до 75 долларов США, хотя ничего кардинально в его конструкции или комплектации не изменилось. Гарантийный срок — два года.
Никелированная конструкция Deepcool Dracula состоит из двенадцати медных тепловых трубок, выходящих из медного же основания и пронизывающих две независимые секции радиатора:
Трубки диаметром 6 мм выходят из основания в разные стороны двумя «пакетами», по шесть штук в каждом. Над основанием системы охлаждения установлен дополнительный тонкий радиатор.
В большой секции радиатора — 53 алюминиевые пластины, а в малой — 31 пластина. Толщина алюминиевых рёбер, припаянных к трубкам с межрёберным расстоянием 2 мм, составляет 0,45 мм:
Размеры радиатора равны 254х100х44 мм и более детально с ними можно ознакомиться по последующей схеме:
Весит радиатор 556 грамм, что не так и много по современным меркам. Одной из его особенностей является переменная высота торцов рёбер, созданная с помощью их оригинальной формы и за счёт смещения относительно друг друга на трубках:
Благодаря этому, должно снижаться сопротивление воздушному потоку вентиляторов, при этом сохраняется высокая эффективность кулера на низких скоростях.
Тепловые трубки пронизывают радиатор равномерно, с расстоянием 9–11 мм друг от друга:
Все места сопряжений пластин радиатора и тепловых трубок, а также трубок и основания кулера пропаяны. Конструкция прочная и не имеет даже малейших люфтов.
В основании трубки лежат в желобках с расстоянием 1-1,5 мм друг от друга:
Контактная поверхность основания новой ревизии Dracula имеет круглый выступ, за счёт которого кулер и контактирует с низко посаженными кристаллами новых графических процессоров AMD. При этом прежняя зеркальная обработка исчезла, а её место заняла весьма посредственно обработанная поверхность:
Ладно хоть, к её ровности сложно предъявить какие-либо претензии, отпечаток на графическом процессоре AMD «Tahiti» получился идеальным:
Кстати, в подтверждение того, что заявление о двенадцати тепловых трубках Dracula — не просто маркетинговый ход, приведём фото разобранного основания радиатора с одного их китайских сайтов:
Действительно трубок двенадцать. Правда, сложно сказать, эффективнее ли такая конструкция, чем если бы через основание просто проходили шесть тепловых трубок. По крайней мере, пайка здесь очевидна.
⇡#Cовместимость и установка на видеокарту
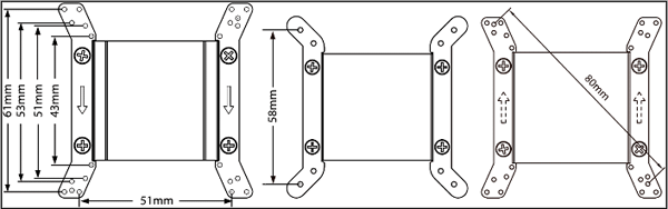
Процедура установки Deepcool Dracula на любую из поддерживаемых кулером видеокарт предельно проста. Для того, чтобы определить, какие из монтажных планок приворачивать к основанию кулера и в какие отверстия вворачивать шпильки крепления, можно воспользоваться следующим чертежом:

Такое обилие монтажных отверстий на креплениях Dracula делает этот кулер максимально универсальным, а его совместимость с видеокартами может быть ограничена размерами или какими-то оригинальными печатными платами с нестандартным расположением компонентов.
Для закрепления радиатора на графическом процессоре видеокарты используются шпильки с резьбой (их несколько вариантов в комплекте), которые вворачиваются в отверстия монтажных пластин:
Далее на поверхность кристалла графического процессора наносится термопаста, устанавливается радиатор и притягивается с обратной стороны гайками с пружинами. На некоторых моделях видеокарт необходимо использовать усилительную пластину, но в нашем случае на Radeon HD 7970 мы обошлись и без неё. После такой нехитрой и быстрой процедуры Dracula уже надёжно закреплён на видеокарте:
В нашем случае радиатор Dracula увеличил длину видеокарты на 20 мм и высоту на 10 мм:
Ни то, ни другое вовсе не критично. Остаётся только вставить видеокарту в PCI-E слот материнской платы — и можно переходить к установке вентиляторов.
Для этого в соседнем с видеокартой слоте вместо заглушки необходимо закрепить «полку» с планкой для вентиляторов:
Впрочем, ещё удобнее устанавливать эту полку сразу с крепежной рамой и вентиляторами:
Закрепляется она в корпусе не только одним винтом сверху, но и усилительной пластиной с внешней стороны его задней стенки. В результате вся массивная конструкция блокирует сразу 3 соседних к видеокарте PCI-Е слота на материнской плате:
На планку крепления можно устанавливать вентиляторы типоразмеров 92, 120 и даже 140 мм, если хватит высоты до материнской платы. В сегодняшнем тестировании мы тестировали варианты с установкой пары 92-мм и пары 120-мм вентиляторов. Перейдём к конфигурации, методике и непосредственно к тестам.
⇡#Тестовая конфигурация, инструментарий и методика тестирования
Тестирование было проведено в закрытом корпусе системного блока, конфигурация которого состояла из следующих комплектующих:
Видеокарта MSI была разогнана до частот 1140/7160 МГц:

Программы, применявшиеся при тестировании, устанавливались под операционной системой Microsoft Windows 7 Ultimate x64 SP1. Использовались библиотеки DirectX End-User Runtimes (ноябрь 2010-го), а также драйверы видеокарты AMD Catalyst 12.4. Прогрев видеокарты был выполнен пятью циклами теста игры Aliens vs Predator в разрешении 2560х1440 с максимальными настройками качества графики, анизотропной фильтрацией уровня 16х и сглаживанием степени 4х:

Данный тест при заданных нами настройках качества даже мощные видеокарты нагружает весьма сильно и при этом не может привести к выходу её из строя, о чем нас честно предупреждает FurMark, от полноценного использования которого мы в данной статье отказались.
Для мониторинга частот и температур видеокарт использовалась утилита MSI Afterburner версии 2.2.1, а также программа GPU-Z версии 0.6.2:
Тестирование в каждом скоростном режиме работы вентиляторов проводилось не менее двух раз, а период стабилизации температуры между циклами тестирования составлял 10-12 минут. Комнатная температура контролировалась установленным рядом с открытым системным блоком электронным термометром с точностью измерений 0,1 °C и возможностью мониторинга изменения температуры в помещении за последние 6 часов. Во время тестирования комнатная температура держалась у отметки 25,0 °С.
Мы специально выдержали конфигурацию, программное обеспечение и методику тестирования идентичными тем, что использовались в статье об Arctic Accelero Xtreme 7970, чтобы сравнить эффективность Deepcool Dracula с наиболее производительной системой охлаждения для Radeon HD 7970. Кроме этого, в тестах присутствуют и результаты фирменной системы охлаждения видеокарты MSI Twin Frozr IV. Deepcool Dracula тестировался с двумя 92-мм вентиляторами Deepcool UF92 в скоростном диапазоне от 1000 до 1800 об/мин, а также с двумя вентиляторами Deepcool UF120 в скоростном диапазоне от 800 до 1500 об/мин. Скорость вращения вентиляторов всех систем охлаждения регулировалась с помощью специального контроллера путём изменения питающего напряжения.
Перейдём к изучению результатов тестирования.
⇡#Результаты тестирования эффективности
Результаты тестирования эффективности систем охлаждения представлены вашему вниманию на диаграмме:

Очевидно, что эффективность Deepcool Dracula находится на самом высоком уровне. Причём вариант с двумя 92-мм вентиляторами, имеющими более сфокусированный воздушный поток, ничуть не менее выгоден с точки зрения эффективности, чем вариант с двумя большими 120-мм вентиляторами. По температуре графического процессора Dracula не уступает Arctic Accelero Xtreme 7970 и превосходит эффективность MSI Twin Frozr IV, а по температуре силовых элементов и микросхем памяти хоть и проигрывает последней, но зато оказывается эффективнее Arctic. Впрочем, разница совсем невелика, главное — Dracula в любом из двух протестированных сегодня вариантов компоновки с вентиляторами способен справиться с охлаждением неплохо разогнанной Radeon HD 7970 даже при минимальных скоростях работы вентиляторов (1000 об/мин для 92-мм, и 800 об/мин для 120-мм).
Что касается уровня шума, то так как вентиляторы в комплект Dracula не входят, то проводить его сравнение с Arctic или MSI не совсем корректно, ведь пользователь может самостоятельно выбрать любые подходящие для себя вентиляторы и установить их на радиатор с помощью универсального крепления. Использованные в нашем тестировании вентиляторы Deepcool серии UF довольно тихие, но стоят дорого, поэтому комплектовать ими и без того недешёвый Dracula станет далеко не каждый. Свобода выбора вентиляторов и простота их замены также является одной из сильных сторон системы охлаждения Deepcool.
Смена поколения видеокарт на графических процессорах AMD, повысившиеся частоты и тепловыделение, не оказались большой проблемой для новой версии кулера Deepcool Dracula. Он по-прежнему демонстрирует наивысший, можно даже сказать «дьявольский», уровень эффективности и способен охладить разогнанные видеокарты класса Hi-End при минимальных скоростях вентиляторов. По сути дела, у Dracula есть два недостатка: высокая для одного радиатора без вентиляторов стоимость ($75) и блокировка трёх ближайших к кулеру слотов PCI на материнской плате. Насколько существенны эти минусы — решать вам. В остальном Dracula — это очень эффективный, универсальный кулер с простой процедурой установки и надёжным креплением. Компании Deepcool хотелось бы пожелать более качественно обрабатывать основание, что важно для открытых кристаллов GPU, и включить в комплект поставки проволочные крепления для установки вентиляторов непосредственно на радиатор, как это реализовано, например, в модели V6000.